Apple đã nghiên cứu cách điều chỉnh các yếu tố như góc đầu bút, phản hồi xúc giác, phân bố trọng lượng và độ cứng của Apple Pencil. Mục tiêu là biến thiết bị này thành công cụ phù hợp cho việc ghi chép, vẽ tranh hoặc viết chữ thư pháp trong từng ngữ cảnh cụ thể. Những chiếc Apple Pencil trong tương lai có thể được thiết kế với khả năng tự biến dạng vật lý để mang lại cảm giác chân thực như đang sử dụng bút máy hoặc cọ vẽ.

Theo thông tin từ Văn phòng Sáng chế và Nhãn hiệu Mỹ (USPTO), Apple vừa chính thức được cấp bằng sáng chế cho một chiếc Apple Pencil hoàn toàn mới. Chiếc bút cảm ứng này có khả năng biến dạng vật lý để tái tạo chân thực cảm giác cầm và viết của các loại bút truyền thống.
Bằng sáng chế mang tên “Stylus With Adjustable Features” (Bút cảm ứng với các tính năng điều chỉnh được) mô tả một thế hệ Apple Pencil có thể vượt xa chức năng điều khiển cảm ứng thông thường. Thay vì chỉ hoạt động như một thiết bị nhập liệu kỹ thuật số, chiếc bút này có thể thay đổi hình dạng vật lý và cấu trúc bên trong, từ đó mô phỏng chính xác trải nghiệm khi sử dụng các dụng cụ vẽ quen thuộc như bút bi, bút chì, phấn, bút dạ hay thậm chí là cọ vẽ.
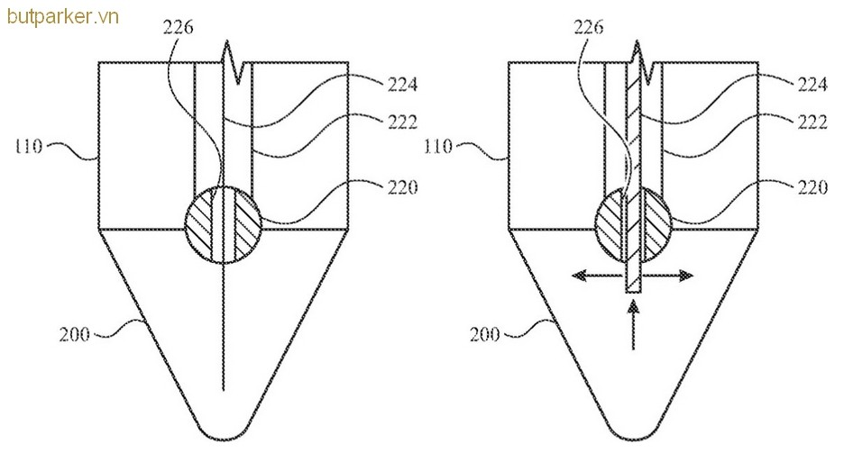
Theo tài liệu mô tả với hơn 16.000 từ và 31 sơ đồ kỹ thuật, Apple dự định tích hợp những vật liệu và cơ cấu cơ khí tiên tiến bên trong Apple Pencil để tạo ra phản hồi xúc giác chân thực hơn. Một trong những chi tiết đáng chú ý là khoảng không giữa lớp vỏ đầu bút và lõi cứng bên trong có thể được lấp đầy bằng chất lỏng từ biến, loại vật liệu có khả năng thay đổi tính chất vật lý khi chịu tác động của từ trường.

Nhờ việc điều khiển trường điện từ, hệ thống có thể điều chỉnh độ nhớt của chất lỏng theo thời gian thực, từ đó thay đổi độ cứng, độ dẻo và độ ma sát của đầu bút. Điều này cho phép Apple Pencil tái hiện nhiều cảm giác viết khác nhau, chẳng hạn như độ trơn của bút bi, độ nhám của bút chì hay độ mềm của cọ vẽ.
Không chỉ vậy, Apple còn đề cập đến việc sử dụng các linh kiện siêu nhỏ bên trong thân bút có khả năng dịch chuyển theo các hướng nhất định. Những cơ cấu này giúp điều chỉnh trọng tâm và mô-men quán tính của bút, mô phỏng cách phân bố trọng lượng của các loại bút vật lý khác nhau, mang lại trải nghiệm cầm nắm tự nhiên hơn cho người dùng.

Ở khía cạnh thiết kế, bằng sáng chế cũng cho thấy đầu bút trong tương lai sẽ không còn bị giới hạn ở dạng hình nón cố định như hiện nay. Thay vào đó, đầu bút có thể thay đổi kích thước và hình dạng tùy theo mục đích sử dụng, giúp thích nghi với nhiều phong cách viết và vẽ khác nhau.

Các bản vẽ minh họa còn hé lộ một tính năng đặc biệt, đó là đầu bút có thể tách thành nhiều điểm tiếp xúc thay vì chỉ một điểm duy nhất. Điều này cho phép Apple Pencil mô phỏng cấu trúc của lông cọ thật, giúp tái tạo các nét vẽ phức tạp và tự nhiên hơn ở cấp độ vật lý.

Bên cạnh đó, bề mặt thân bút có thể được tích hợp vùng cảm ứng, cho phép người dùng nhanh chóng chuyển đổi giữa các chế độ vật lý khác nhau của đầu bút chỉ bằng thao tác chạm hoặc nhấn.
Đây được xem là nghiên cứu chuyên sâu nhất mà Apple đã thực hiện về Apple Pencil như một chiếc bút cảm ứng. Apple có hàng tấn bằng sáng chế chẳng bao giờ được đưa vào thực thi. Nhưng nếu họ thực hiện ý tưởng này, thì đó sẽ là một bước phát triển mang tính cách mạng cho một thiết bị đã trở thành một phần không thể thiếu trong việc trải nghiệm iPad.
Về mặt hệ sinh thái, Apple cho biết thế hệ Apple Pencil hỗ trợ “biến đổi vật lý” này tiếp tục được tối ưu cho iPad và có khả năng tương thích với iPhone trong tương lai, mở ra nhiều kịch bản sử dụng mới cho thiết bị di động của hãng.
Tài liệu tham khảo:
https://appleinsider.com/articles/26/03/10/future-apple-pencils-could-physically-transform-to-feel-like-drawing-with-fountain-pens-or-paintbrushes
https://www.teatamira.nz/events/digital-art-drawing-with-an-ipad-express-yourself
https://appleworld.today/2026/03/future-apple-pencils-could-have-a-variety-of-adjustable-features/
https://apple.gadgethacks.com/news/apple-pencil-patent-reveals-shape-shifting-stylus/
https://nghenhinvietnam.vn/apple-pencil-the-he-moi-dot-pha-voi-kha-nang-bien-dang-vat-ly-mo-phong-cam-giac-cam-nam-va-viet-cua-but-may-hoac-but-chi
